ds 21ie ne demarre plus
Modérateurs : DominiqueHok, DominiqueHok, DominiqueHok, DominiqueHok, DominiqueHok
ds 21ie ne demarre plus
BJr,
ma ds ne démarre plus, cet hiver elle a tourné sur 2 ou 3 pattes, mais là maintenant plus rien.
La pompe a essence est ok(essence dans la durite de l'injecteur de démarrage)
l'allumage est ok (étincelle), mais rien ne se passe, à peine une petite explosion toutes les 5 secondes..
Je n'ai encore rien démonté pour l'instant.
ma ds ne démarre plus, cet hiver elle a tourné sur 2 ou 3 pattes, mais là maintenant plus rien.
La pompe a essence est ok(essence dans la durite de l'injecteur de démarrage)
l'allumage est ok (étincelle), mais rien ne se passe, à peine une petite explosion toutes les 5 secondes..
Je n'ai encore rien démonté pour l'instant.
Re: ds 21ie ne demarre plus
Bonjour Jérôme,
Dans un premier temps, déraccorde la durite d'essence de ton injecteur de départ à froid qui se situe sur la pipe d'admission et branches-y un manomètre de pression.
Mets le contact (ta pompe doit tourner environs 2 secondes puis se couper ) et lire la pression au mano....tu devrais lire mini 1,96 Bar voir 2 bars maximum.
Si ce n'est pas le cas, règles le régulateur de pression qui se trouve sur la rampe d'injection sous la pipe d'admission (passes tes mimines par la gauche, c'est plus facile )pour obtenir cette pression.
Si, quoi que tu fasses, tu n'y parviens pas, 2 cas possibles:
1°) Pompe dont le clapet de décharge est bloqué (grippé donc retour vers le réservoir d'essence en majeure partie de la pression nécéssaire à l'alimentation de la rampe d'injecteurs, ce cas n'est vrai qu'avec une pompe d'origine équipée de ce dispositif )....si tel est le cas, obstruer ce retour et contrôler de nouveau la pression au niveau de l'injecteur de départ à froid,régler la pression si nécéssaire en agissant toujours sur le régulateur de pression.
2°) Régulateur de pression HS donc remplacement obligatoire.
Tant que tu n'auras pas ces 2 bars de pression, il te seras difficile de la mettre en route ou bien, au mieux, elle tournera pas rond parce que les injecteurs ne délivreront pas la quantité d'essence utile à un bon mélange air/essence pour chaques cylindres (mélange trop pauvre pour une bonne combustion dans les cylindres ).
Contrôles donc déjà ta pression et tiens nous informé de la pression que tu as.
Ne désespères pas, on va t'aider à la remettre d'applomb ton auto !!!
Dans un premier temps, déraccorde la durite d'essence de ton injecteur de départ à froid qui se situe sur la pipe d'admission et branches-y un manomètre de pression.
Mets le contact (ta pompe doit tourner environs 2 secondes puis se couper ) et lire la pression au mano....tu devrais lire mini 1,96 Bar voir 2 bars maximum.
Si ce n'est pas le cas, règles le régulateur de pression qui se trouve sur la rampe d'injection sous la pipe d'admission (passes tes mimines par la gauche, c'est plus facile )pour obtenir cette pression.
Si, quoi que tu fasses, tu n'y parviens pas, 2 cas possibles:
1°) Pompe dont le clapet de décharge est bloqué (grippé donc retour vers le réservoir d'essence en majeure partie de la pression nécéssaire à l'alimentation de la rampe d'injecteurs, ce cas n'est vrai qu'avec une pompe d'origine équipée de ce dispositif )....si tel est le cas, obstruer ce retour et contrôler de nouveau la pression au niveau de l'injecteur de départ à froid,régler la pression si nécéssaire en agissant toujours sur le régulateur de pression.
2°) Régulateur de pression HS donc remplacement obligatoire.
Tant que tu n'auras pas ces 2 bars de pression, il te seras difficile de la mettre en route ou bien, au mieux, elle tournera pas rond parce que les injecteurs ne délivreront pas la quantité d'essence utile à un bon mélange air/essence pour chaques cylindres (mélange trop pauvre pour une bonne combustion dans les cylindres ).
Contrôles donc déjà ta pression et tiens nous informé de la pression que tu as.
Ne désespères pas, on va t'aider à la remettre d'applomb ton auto !!!
Re: ds 21ie ne demarre plus
Bonsoir,
Vérifies également que ta batterie soit bien chargée, et l'état des connecteurs electriques spécifiques IE et notament celui de la sonde de température d'eau (a coté de l'injecteur N°1).
Vérifies également que ta batterie soit bien chargée, et l'état des connecteurs electriques spécifiques IE et notament celui de la sonde de température d'eau (a coté de l'injecteur N°1).
Re: ds 21ie ne demarre plus
Bjr,
merci pour vos conseils, je vérifie tout celà cette semaine et je vous tiens au courant
PS: ma batterie est assez faible.
merci pour vos conseils, je vérifie tout celà cette semaine et je vous tiens au courant
PS: ma batterie est assez faible.
Re: ds 21ie ne demarre plus
Alors, ne vas pas plus loin !!!
Si ta batterie n'est pas assez chargée, lorsque tu actionnes le démarreur, tous le jus est pompé par ce dernier et il n'y a pas assez de jus pour que le calculateur soit alimenté correctement....n'oublions pas que c'est un organe de gestion principal dans le système d'injection sur la DS (même sur une autre voiture d'ailleurs!!! ).
Résultat, tu as le démarreur qui fonctionne bien et un calculateur qui ne vois rien des informations dont il a besoin pour permettre la gestion correcte du mélange air/essence afin que le moteur puisse démarrer normalement.
Recharge bien ta batterie et refaits un essai....je pense qu'elle démarra bien cette fois-ci.
Tiens nous au JUS !!!
Si ta batterie n'est pas assez chargée, lorsque tu actionnes le démarreur, tous le jus est pompé par ce dernier et il n'y a pas assez de jus pour que le calculateur soit alimenté correctement....n'oublions pas que c'est un organe de gestion principal dans le système d'injection sur la DS (même sur une autre voiture d'ailleurs!!! ).
Résultat, tu as le démarreur qui fonctionne bien et un calculateur qui ne vois rien des informations dont il a besoin pour permettre la gestion correcte du mélange air/essence afin que le moteur puisse démarrer normalement.
Recharge bien ta batterie et refaits un essai....je pense qu'elle démarra bien cette fois-ci.
Tiens nous au JUS !!!
Re: ds 21ie ne demarre plus
Bjr,
J'ai vérifié la pression à l'injecteur de départ à froid: 2 bars (je précise que j'ai remplacé la pompe d'origine par une pompe de cx et que j'ai fait les modifs correspondantes)
la batterie a été rechargé, j'ai vérifié l'intérupteur de pleine charge, le papillon d'ouverture des gaz, la sonde de température (5.7k ohms),
j'ai échangé les 2 relais de pompe et d'impulsion.
j'ai sorti l'injecteur de démarrage à froid, essayé de démarrer et là toujours pas de projection d'essence (j'ai testé l'injecteur en direct(shunt rapide sur le relais d'impulsion), il fonctionne.
je vais essayé avec une 2 ieme batterie cet aprem, mais là je sèche..
J'ai vérifié la pression à l'injecteur de départ à froid: 2 bars (je précise que j'ai remplacé la pompe d'origine par une pompe de cx et que j'ai fait les modifs correspondantes)
la batterie a été rechargé, j'ai vérifié l'intérupteur de pleine charge, le papillon d'ouverture des gaz, la sonde de température (5.7k ohms),
j'ai échangé les 2 relais de pompe et d'impulsion.
j'ai sorti l'injecteur de démarrage à froid, essayé de démarrer et là toujours pas de projection d'essence (j'ai testé l'injecteur en direct(shunt rapide sur le relais d'impulsion), il fonctionne.
je vais essayé avec une 2 ieme batterie cet aprem, mais là je sèche..
Re: ds 21ie ne demarre plus
rebjr,
j'ai continué à chercher, visiblement le calculateur semble inopérant, j'ai vérifier le capteur d'allumage, j'ai bien les impulsion à sur chaque contact (21<=>12, 22<=>12)lorsque l'allumeur tourne; avez vous le schéma d'alim du calculateur et mieux le shéma electronique du calculo?(j'ai quelques notions d'électronique)
merci, votre site est top
j'ai continué à chercher, visiblement le calculateur semble inopérant, j'ai vérifier le capteur d'allumage, j'ai bien les impulsion à sur chaque contact (21<=>12, 22<=>12)lorsque l'allumeur tourne; avez vous le schéma d'alim du calculateur et mieux le shéma electronique du calculo?(j'ai quelques notions d'électronique)
merci, votre site est top
Re: ds 21ie ne demarre plus
Bonjour,
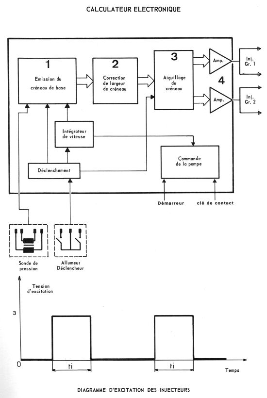
Je ne connais pas de schéma du calculateur (analogique), si tu en trouves un n'oublie pas de nous en faire profiter.
La doc technique en donne juste un schéma bloc :
- Fichiers joints
-
- Calculateur_IE.jpg (49.34 Kio) Vu 8600 fois
Re: ds 21ie ne demarre plus
Bonsoir,
merci pour le schéma, je pense que je vais devoir vérifier le faisceau car honnêtement là, je cale, en premier lieu je vais chercher ou le calculo est alimenté, je vous tiens au courant.
merci pour le schéma, je pense que je vais devoir vérifier le faisceau car honnêtement là, je cale, en premier lieu je vais chercher ou le calculo est alimenté, je vous tiens au courant.
Re: ds 21ie ne demarre plus
Quand j'ai une ie qui démarre pas en général je vérifie la sonde de T temporisée et le relais.
Débranchée = plus d'injection.
Débranchée = plus d'injection.