Bonjour,
Je suis en train de refaire entièrement mon circuit d'essence sur ma 21 ie 1970. Je voulais en profiter pour changer les tubulures qui alimentent les injecteurs, mais pas moyen de trouver ça. Est-ce que des refabrications (par ex. en cuivre) existent?
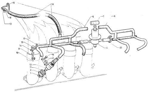
Pour mémoire il s'agit des pièces 5 et 6 sur le schéma joint.
Merci
Olivier
tubulure d'essence sur DS 21 ie
Modérateurs : DominiqueHok, DominiqueHok, DominiqueHok, DominiqueHok, DominiqueHok
tubulure d'essence sur DS 21 ie
- Fichiers joints
-
- 1-144.jpg (27.54 Kio) Vu 5364 fois
Re: tubulure d'essence sur DS 21 ie
Bonsoir Olivier,
Possésseur d'une 21 IE de fin 1971, j'ai cette pièce dans mon stock car les pièces pour les modèles "IE" se font rares et chères !
Ceci dit, tu peux te confectionner ces deux parties dans du tube cuivre. Une fois poli, ca brille de mille feux et ca en jette sous un capot ouvert.
Je pense qu'à la base, cette pièce est fabriquée en tube cuivre/nikel car, en polissant la mienne, on remarque vite une forte teneur en particules de nickel, qui, malheureusement, au fil de temps, fini par s'oxyder mais sans rouiller !
Si franchement tu souhaites acquérir cette tubulure d'origine, fais-le moi savoir !
Cordialement,
Fabien.
PS: je sais ce qu'une personne désire lorsqu'elle veut remettre son auto dans la plus stricte "Origine"...c'est ce que je fais en ce momment avec ma belle!
Possésseur d'une 21 IE de fin 1971, j'ai cette pièce dans mon stock car les pièces pour les modèles "IE" se font rares et chères !
Ceci dit, tu peux te confectionner ces deux parties dans du tube cuivre. Une fois poli, ca brille de mille feux et ca en jette sous un capot ouvert.
Je pense qu'à la base, cette pièce est fabriquée en tube cuivre/nikel car, en polissant la mienne, on remarque vite une forte teneur en particules de nickel, qui, malheureusement, au fil de temps, fini par s'oxyder mais sans rouiller !
Si franchement tu souhaites acquérir cette tubulure d'origine, fais-le moi savoir !
Cordialement,
Fabien.
PS: je sais ce qu'une personne désire lorsqu'elle veut remettre son auto dans la plus stricte "Origine"...c'est ce que je fais en ce momment avec ma belle!
Re: tubulure d'essence sur DS 21 ie
Bonjour Fabien,
Merci de ta proposition. Mais un doute m'assaille... Je vais vérifier mais j'ai cru que sur mon modèle ces tubes étaient en plastique.
S'ils sont en cuivre nickelé, ne suffit-il pas de les poncer puis faire nickeler à nouveau (voire chromer, histoire d'en jeter un peu plus avec le capot ouvert ) ?
a+
Olivier
Merci de ta proposition. Mais un doute m'assaille... Je vais vérifier mais j'ai cru que sur mon modèle ces tubes étaient en plastique.
S'ils sont en cuivre nickelé, ne suffit-il pas de les poncer puis faire nickeler à nouveau (voire chromer, histoire d'en jeter un peu plus avec le capot ouvert ) ?
a+
Olivier
Re: tubulure d'essence sur DS 21 ie
Les premières 21ie avaient des tubes plastiques (poly amide).
Re: tubulure d'essence sur DS 21 ie
Etes-vous sûr que les pièces 5 et 6 de la vue ci-dessus soient en PA ?
J'ai un doute....celle de mon père qui était de janvier 70 étaient en cuivre !
J'ai un doute....celle de mon père qui était de janvier 70 étaient en cuivre !
Re: tubulure d'essence sur DS 21 ie
http://www.ideale-ds.com/w-agora/extras ... lech/notes
Sur la fiche OP Die 112.00 on a une photo avec les premiers modèles ie en PA.
Il était par contre très fréquent à l'époque de remplacer ces tubulures PA cassante par des "cuivre".
Sur la fiche OP Die 112.00 on a une photo avec les premiers modèles ie en PA.
Il était par contre très fréquent à l'époque de remplacer ces tubulures PA cassante par des "cuivre".
Re: tubulure d'essence sur DS 21 ie
C'est bien ça.
La mienne est de Mars 1970 et a des tubes en PA. Je vais remplacer tout ça par des cuivres. Fabien, je t'envoie un MP.
a+
Olivier
La mienne est de Mars 1970 et a des tubes en PA. Je vais remplacer tout ça par des cuivres. Fabien, je t'envoie un MP.
a+
Olivier